به نظر میرسد که غول فناوری کره جنوبی قصد دارد دوباره به میدان بازگردد. بازگشت ال جی به بازار موبایل چقدر است؟
شرکت ال جی سالهاست که در زمینه تولید انواع وسایل الکترونیکی فعالیت میکند و توانسته جایگاه والایی بین شرکتهای بزرگ دنیا برای خود دست و پا کند. تا دو دهه قبل، گوشیهای دکمهای LG در بازار عرضه میشدند و پس از مدتی با ظهور نمایشگرهای لمسی، این شرکت کرهای به موج جدید پیوست و توانست استارت خوبی در بازار موبایل بزند.
بازگشت ال جی به بازار موبایل
طی سالهای اخیر، ال جی تصمیم گرفت سهم خود از بازار موبایل را محدود به تولید نمایشگرهای قدرتمند کند و قید تولید گوشیهای هوشمند را بزند. شاید اگر امروز ال جی درهای شرکت خود را به روی بازار موبایل نمیبست، شاهد عرضه یکی از بهترین گوشیهای 2025 بودیم. با این حال امروز به نظر میرسد که کرهایها تصمیم جدی برای بازگشت به بازار گوشیهای هوشمند گرفتهاند. پتنت جدید این شرکت نشان میدهد که به احتمال زیاد باید منتظر کامبک باشکوه ال جی باشیم.
پس از خروج ناگهانی از بازار موبایل در سال 2021 میلادی، ال جی درخواست ثبت یک اختراع یا پتنت کرده و همین موضوع نشان میدهد که امکان بازگشت مجدد آنها به بازار موبایل جدی است. این احتمال پس از انتشار سند 14 صفحه ای ال جی در مهر ماه سال جاری از سوی اداره ثبت اختراع و علائم تجاری ایالات متحده آمریکا قوت گرفت.
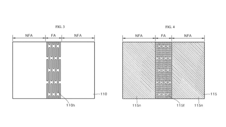
در سند پتنت LG راجع به نمایشگر تاشویی میخوانیم که قرار است مشکلات فعلی گوشیهای تاشو از قبیل سامسونگ گلکسی زد فلیپ 6 را حل کند. در واقع این اختراع تمرکز عمده خود را روی بهبود قسمت تاشدنی گوشی و افزایش دوام صفحه نمایش گذاشته است.
در سند ال جی همچنین به ساختار پشتیبان محکم ناحیه لولاها و لایههای چسبنده با سطوح پخت متفاوت اشاره شده که میتواند به بهبود عملکرد تاشو و کاهش چین خوردگیها کمک کند. به گفته کرهایها، کاربرانی که به تماشای ویدیو یا اجرای بازی روی دستگاه قابل حمل میپردازند، نمایشگر بزرگتر را ترجیح میدهند. با این حال هنگامی که صفحه نمایش دستگاه قابل حمل بزرگ میشود، قابلیت حمل آن کاهش مییابد.
پیش از این هم کرهایها به دنبال ثبت یک پتنت دیگر رفته بودند که نشان میدهد یک دستگاه رول شونده در حال ساخت دارند. رقیب ال جی در بازار کره، سامسونگ است و اگر غول دنیای فناوری کره دوباره به میدان بازگردد، معلوم نیست که بازار موبایل چه تحولاتی را پشت سر خواهد گذاشت.
در صفحه برتر بخوانید:

